襯膠直流式隔膜閥
您的位置:超卓閥門 >>襯膠直流式隔膜閥 >> G45J襯膠直流式隔膜閥G45J襯膠直流式隔膜閥
G45J襯膠直流式隔膜閥的詳細資料:
產品型號:G45J
產品名稱:直流式襯膠隔膜閥
產品特點:襯膠隔膜閥是一種特殊形工的具有截斷功能的閥門,其啟閉件由鋼質瓣與軟質材料(橡膠和氟塑料復合)制的隔膜組成并將閥體內腔與閥蓋內腔隔開以達到截斷管內介質之目的。
G45J襯膠直流式隔膜閥設計規范:遵循GB 1239,BS 5156標準。
驅動方式:手動、氣動(常開或常閉)、電動。
法蘭連接隔膜閥
設計與制造符合中國國家標準
基本結構形式:堰式,直流式
公稱壓力PN0.6~1.0(Mpa)
公稱能徑DN15-400(mm)
|
手動 |
G41J(堰式) |
手動 |
G641J(往復式) |
|
G41F5(堰式) |
G641F5(往復式) |
||
|
G45J(直流式) |
G6B41F(常閉式) |
||
|
G45F5(直流式) |
G6B41F5(常閉式) |
||
|
電動 |
G9B41J(防爆式) |
電動 |
G941J(普通型) |
|
G9B41F5(防爆式) |
G941F5(普通型) |
|
遵循規范 |
STANDARD |
|
設計與制造 |
GB12239 |
|
結構長度 |
GB1221/JB1688 |
|
法蘭尺寸 |
JB78/JB79(GBHGSH) |
|
壓力試驗 |
GB/T13927 |
|
標簽 |
GB12220 |
|
供貨 |
GB/T12252 |
G45J襯膠直流式隔膜閥主要零部件材料表:
|
序號 |
零件名稱 |
灰鑄鐵 |
鑄鋼 |
不銹鋼 |
超低碳鋼 |
||
|
Z |
C |
P |
R |
PL |
RL |
||
|
1 |
閥體、閥蓋、閥瓣 |
HT250 |
WCB |
CF8 |
CF8M |
CF3 |
CF3M |
|
2 |
閥桿 |
35 |
1Cr13 |
1Cr18Ni19Ti |
1Cr18Ni12Mo2Ti |
00Cr18Ni10 |
00Cr17Ni14Mo2 |
|
3 |
襯里層 |
FEP(F46)PFA PCTFE(F3) |
|||||
|
4 |
隔膜 |
FEP(F46)/CR(氟丁橡膠)PFA(可溶性聚四氟乙烯)/FPDM(乙丙橡膠) |
|||||
|
5 |
閥桿螺母 |
ZCuAL10Fe3 ZCuAL10Fe3 |
|||||
|
6 |
螺栓 |
35 |
35 |
1Cr17Ni2 |
1Cr17Ni2 |
1Cr17Ni9Ti |
1Cr17Ni9Ti |
|
7 |
螺母 |
45 |
45 |
0Cr18Ni9 |
0Cr18Ni9 |
0Cr18Ni9 |
0Cr18Ni9 |
|
8 |
手輪 |
HT200 |
HT200 |
WCC |
WCC |
WCC |
WCC |
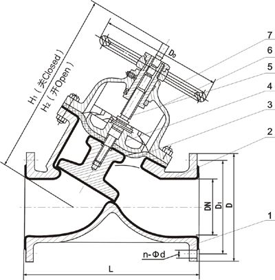
G45J襯膠直流式隔膜閥安裝尺寸及重量
|
DN |
公稱壓力 |
工作壓力 |
L |
D |
D1 |
n-φd |
F |
H1 |
H2 |
D0 |
重量 |
|
25 |
0.6 |
0.6 |
145 |
115 |
85 |
4-14 |
2 |
178 |
190 |
120 |
|
|
32 |
160 |
140 |
100 |
4-18 |
2 |
196 |
217 |
140 |
|
||
|
40 |
180 |
150 |
110 |
4-18 |
3 |
196 |
217 |
140 |
14 |
||
|
50 |
210 |
165 |
125 |
4-18 |
3 |
219 |
240 |
200 |
20 |
||
|
65 |
250 |
185 |
145 |
4-18 |
3 |
264 |
272 |
200 |
29 |
||
|
80 |
300 |
200 |
160 |
4-18 |
3 |
285 |
315 |
280 |
42 |
||
|
100 |
350 |
220 |
180 |
8-18 |
3 |
352 |
383 |
320 |
61 |
||
|
125 |
400 |
250 |
210 |
8-18 |
3 |
470 |
515 |
320 |
79.5 |
||
|
150 |
0.4 |
460 |
285 |
240 |
8-22 |
3 |
508 |
554 |
400 |
150 |
|
|
200 |
570 |
340 |
295 |
8-22 |
4 |
602 |
660 |
500 |
236.5 |
||
|
250 |
680 |
395 |
350 |
12-22 |
4 |
708 |
786 |
500 |
|
||
|
300 |
790 |
445 |
400 |
12-22 |
4 |
|
|
|
|
更多襯膠、襯氟隔膜閥的相關產品:





